防滑移汽车滑板在底盘电器件维修的安全效率研究

打开文本图片集
中图分类号:U467.4 文献标识码:A 文章编号:1003-8639(2026)02-0110-03
Research on the Safety Efficiency ofAnti-Slip Vehicle Skateboards in the Maintenance of Electrical Components on the Chassis
Wang Zheyue,Zhou Yiran (Hubei Industrial Polytechnic, Shiyan 442OoO, China)
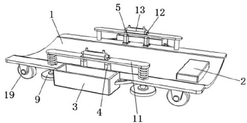
【Abstract】 The article focuses on conducting targeted renovations to the supporting structure and grounding interface.It designs a structural skateboard with anti-slipfunction,clarifying its dual-mode switching mechanismof "stationary-able-movable".It particularlyconstructs a technical chainof support-locking-guidance-synchronization. Throughstructuralanalysisanddiscusionofoperationscenarios,itisdemonstratedthatthisskateboardcansignificantly reduce operational interferenceand safetyrisks,shorten the positioning cycle,and enhance thecontinuityofactions in typical chassis electrical component tasks.
【Key words】anti-slip vehicle skateboards;chassis electrical component maintenance;pin-type locking
0 引言
传统汽车由发动机、电气、车身和底盘四大部分构成。(剩余5045字)