高中力学“动态平衡”问题解题策略探析

打开文本图片集
在高中物理力学体系中,动态平衡问题既是教学重点,也是学生学习的难点,此类问题综合考查了学生的受力分析能力、模型建构能力以及对物理过程的理解深度.深入探析动态平衡问题的核心特征,并系统总结其解题策略与分析方法,这对于突破教学瓶颈以及提升学生物理学科核心素养有着至关重要的意义.
1高中力学“动态平衡”问题的分析要点
首先,需要深入理解题目基本信息,全面把握题目所描述的物理过程以及具体要求,这是正确解答问题的必要前提,只有准确领会题意才能确立正确解题思路;其次,针对动态平衡类习题,要绘制物体的受力分析图,将物体受力情况直观呈现出来,这有助于学生清晰辨识各力作用方向和数值大小,为后续定量分析奠定基础;再次,需构建合适的物理模型,即学生要根据题目给出的具体情境选用恰当的物理模型进行分析,如“力的矢量三角形”模型、“动态平衡几何相似”模型等,这是解题的关键环节,要求学生熟练运用物理原理,且熟知各类模型适用范围;最后,要借助适配的数学方法具体求解,在建立好物理模型之后,学生需运用相应的数学方法进行推导计算,这一过程要求学生具备良好的数学功底.要绘制物体的受力分析图.
2高中力学"动态平衡”问题解题方法研究
2.1 图解法
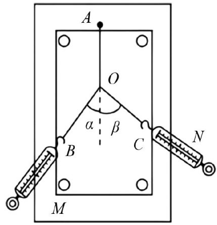
例1一实验小组做“验证力的平行四边形定则”实验时,其装置如图1所示,图中 A 是固定橡皮条用的图钉, O 是橡皮条和细绳相连接的点,OB以及 OC 是两根细绳.在实验进行过程中,某次测量时,两个弹簧测力计 M 和 N 的拉力方向相互垂直,满足 α+β=90∘ 的条件.若保持弹簧测力计 M 的示数不发生改变,当角度 α 从图示位置慢慢减小时,为保证橡皮条与细绳的连接点依旧处在 O 点,能够采取的措施是( )
图1
(A)增大 N 的读数,减小 β 角.
(B)减小 N 的读数,增大 β 角.
(C)减小 N 的读数,减小 β 角.
(D)增大 N 的读数,增大 β 角.
解析 根据题目进行分析,O点位置保持静止,因此两个弹簧测力计的合力大小和方向不会改变,并且弹簧测力计 M 的示数始终保持恒定.依据平行四边形定则绘制结点受力分析图,如图2所示,也可以采用三角形定则绘制图3.当 α 角逐渐减小,弹簧测力计 N 的示数会跟着相应减小,同时 β 角也会随着 α 角减小而减小,所以正确的选项是(C).
图2
2.2 相似三角形法
例2如图4所示,已知OA与OB的长度相同,假设A点为固定点,初始时, OA 与 OB 相互垂直,若B点沿着圆弧缓慢向 C 点移动,则在 B 点移动过程中, OB 的张力将( )
图4
(A)先变小后变大. (B)先变大后变小.
(C)由大变小. (D)由小变大.
解析对 O 点进行受力分析,它受到 AO 绳的拉力 FTA、BO 绳的拉力 FTB 以及下面悬挂重物的拉力FG (大小方向恒定,等于重力).构建矢量三角形(如图5所示):以固定力 FG 为基准,由于其方向竖直, FTA 的方向被限制在 AO 线上.随着 B 点移动, FTB 的方向绕 O 点顺时针转动.观察动态的矢量三角形可以发现 FTB 对应的边长先是逐渐缩短,经过与 FTA 方向垂直的位置后,又逐渐变长.初始时 ΩΩ,OA 与 OB 相互垂直.因此, .OB 的张力 FTB 由小变大,选择(D).
图5
2.3 正弦定理法
例3选取两根长度相等的细线,将一个均匀圆柱体悬挂在竖直木板的 P 点,让木板绕着底边MN轴向后方慢慢地转动直到处于水平状态,并且要保证细线和木板之间的夹角一直保持不变,同时将圆柱体与木板之间的摩擦忽略不计,则在转动过程中会出现以下哪种情况( )
(A)圆柱体对木板的压力逐渐增大.(B)圆柱体对木板的压力先增大后减小.(C)两根细绳上的拉力均先增大后减小.(D)两根细绳对圆柱体拉力的合力保持不变
解析如图6所示,当木板逐渐转动直到水平位置,在转动过程中 β 保持不变, α 从 90∘ 逐渐减小到0,γ从锐角逐渐增大到钝角,则根据正弦定理有 ,可知 G 与 β 均不变,则整个式子的比值保持不变.随着 α 的减小,sinα逐渐减小,则拉力 FT 逐渐减小;随着 γ 从锐角逐渐增大到钝角,sinγ的值先增大后减小,则支持力 FN 先增大后减小,故选(B).
图6
3结语
高中力学里的动态平衡问题深刻揭示了物体在变化中维持平衡的物理规律.通过对静力学与动力学典型模型进行分析,能清晰地看到“矢量三角形法”是破解此类问题的核心点.它将抽象的力的变化关系转化成直观的几何图形演变,从根本上提升物理学科核心素养,为应对更高层次的学习奠定坚实基础。(剩余144字)