专用汽车

专用汽车

2026年02期
  • 收藏
收藏成功
微博 空间 微信
综述设计·研究新结构·新技术工艺·材料·设备专用装·零部件测试...     展开

类型

月刊

类别

汽车
定价
促销信息
全年订阅更优惠!
¥25.00 ¥9.00
目录

行业综述

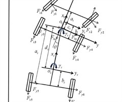
电驱动挂车横向稳定性研究
摘要:针对电驱动挂车在双移线工况下易发生横向失稳的问题,开展其横向稳定性与控制策略研究。通过建立牵引车与电驱动挂车的整车动力学模型,提出一种基于非线性模型预测控制(NMPC)与自适应稳定性边界的协同控制策略。该策略通过动态调整质心侧偏角边界...

市场分析

2025年新能源商用车市场回顾及2026年预测
摘要:对2025年中国新能源商用车市场进行全面回顾,并对2026年的发展趋势进行前瞻性预测。经流通数据分析发现,2025年不仅是新能源商用车市场在销量和渗透率上实现跨越式增长的一年,更是一个标志着市场核心驱动力、技术应用范式、竞争格局和政策...
基于技术突破、应用场景与国产替代前景的新能源汽车MCU研究分析
摘要:系统分析了新能源汽车MCU的最新技术突破、应用场景特点、国产化现状及未来发展趋势。研究表明,在 800V 高压平台、智能驾驶等技术推动下,车规级MCU正加速向 16/18nm 先进制程、RISC-V开源架构及域控集成方向演进;国产MC...

底盘设计

重型电驱特种车辆电动空调系统方案研究
摘要:针对重型电驱特种车辆的电动空调系统,分析驾驶室冷负荷来源及其数学计算模型。针对特种车辆在极端工况下的需求,提出了一种既能在极端工况(低温 -30°C )稳定运行,又能提升能源利用效率的解决方案,即基于独立式热泵空调搭配燃油加...
基于商用车液阻悬置参数的动态特性分析
摘要:针对第三代固定解耦膜式液阻悬置结构/流体参数难以准确确定,导致中低频动特性预测不稳定的问题,提出有限元—理论—试验联合识别与快速预测方法。该方法基于Abaqus获取主簧静刚度与等效活塞面积,在层流假设下计算惯性通道惯性系数与阻尼系数,...
基于OptiStruct的轻卡车架第二横梁强度优化
摘要:针对某轻型卡车车架在耐久路可靠性试验中第二横梁断裂问题,进行强度有限元仿真分析优化。首先,对故障件进行检测,确定其质量特性是否满足设计要求,同时对车架进行应力测试,便于仿测对标。其次,基于OptiStruct搭建车架强度仿真分析模型,...

上装研究

公铁两用车牵引制动控制技术研究
摘要:针对公铁两用车不同工况制动协同需求,在制动控制回路中创新增设电控换向阀,以实现单机与铁路牵引制动协同控制,并提出通过车钩挂接状态检测与制动踏板机械锁止结构,对公铁两用车牵引制动构建双重保障机制,形成两类制动系统功能互锁的效果。本设计确...
前压浪板角度对 8×8 轮式两栖车航行阻力的影响分析
摘要:对于作战领域的水陆轮式两栖车来说,增加前压浪板和后尾翼板以获得更高的快速性和耐波性是世界各国均采用的一种有效的技术措施,也是长期以来研究的动力学热门方向。为提高水陆轮式两栖车的水上快速性与耐波性,前压浪板结构和安装角度的优化设计是关键...
可拓展式智能饮食保障车的研制开发
摘要:针对当前多场景应用的迫切需求、传统饮食保障模式的固有局限以及前沿技术发展的有力驱动,研制了一种可拓展式智能饮食保障车。该车基于二类底盘加装扩展车厢,集成自动炒菜机器人、智能蒸箱与精准分餐系统,实现了智能化烹饪与分餐功能。研制完成后,开...
一种大负载液压油缸同步升降控制方式
摘要:针对特种车辆行业的大负载液压油缸同步控制方式展开研究。液压油缸的控制回路中使用电磁换向阀、双向节流阀、平衡阀、位移传感器和控制器等电液结合的控制方式,可实现多条大负载液压油缸高精度的同步升降控制。这种实现成本低,控制精度高的液压油缸同...

前沿技术

基于V2X技术的危化品运输车安全预警研究
摘要:危化品运输是道路交通安全管理的重点领域,传统预警手段存在感知距离短,响应滞后等问题。为提升危化品运输车辆的主动安全水平,采用车联万物(Vehicle-to-Everything,V2X)车路协同技术构建智能预警模型。设计四层车路协同感...
混动发动机智能热管理模块优化控制研究
摘要:混动发动机热管理在节能减排与优化整车性能中起关键作用。混动动力系统中,发动机、驱动电机、电池跟逆变器相互之间存在显著的能量与热量耦合,传统定标控制不容易兼顾温度稳定与能耗的约束。据此,以混动发动机冷却系统为考察对象,建立发动机热力学模...
基于多模态融合的自动驾驶环境感知算法优化研究
摘要:环境感知是自动驾驶系统的核心组成部分,多模态融合技术为提升感知准确性与稳定性提供了新路径据此,研究了自动驾驶场景中的感知算法。基于图像与毫米波雷达等多源数据融合,构建高效融合模型并优化特征提取与决策机制。研究结果表明,所提出的方法在多...
多源信息融合背景下新能源汽车动力电池健康状态预测模型优化
摘要:首先梳理了当前新能源汽车动力电池健康状态的评定标准,指出传统单一数据源与静态建模方法在复杂工况下存在准确性不足的问题,进而提出基于多源信息融合的SOH预测模型优化路径。整合电压、电流、温度、SOC、历史工况与环境数据,并结合深度学习、...

测试试验

柴油机加载低温冷起动特性研究
摘要:针对低温环境下柴油机加载冷起动困难问题,通过搭建液压加载装置与环境仓模拟柴油机的低温加载冷起动条件,系统性地开展了 80~210N?m 人 -35~0‰ 工况下的加载低温冷起动特性测试。研究结果表明:在相同加载力下,随温度降低导致润滑...
复杂环境下车内空调对人体热特性的影响研究
摘要:对复杂环境下车内空调对人体热舒适性的调控规律展开了研究。在 1220m 中低海拔与 4797m 高海拔的典型环境下,使用空调假人进行对比测试,采集了Auto 22‰ 模式下人体多部位的热环境数据。研究发现:在 1220m 环境中,空调...
整车油耗试验工况驾驶评价研究
摘要:中国第六阶段轻型汽车排放标准中引入了WLTC工况,相较于NEDC工况,WLTC工况下速度变化更加频繁,对测试人员驾驶水平提出了更高的要求。试验数据表明,即使两次驾驶完全满足国六标准要求,不同的驾驶风格带来的试验结果偏差也是十分明显的,...
交通事故中车辆动力学参数的实时估计与验证
摘要:交通事故场景中,传统事后重构方法难以满足实时性与精确性要求。研究围绕动力学参数实时估计展开,构建事故条件下车辆动力学模型,分析速度、加速度、角速度等参数的耦合机理。在多源传感器数据基础上,提出基于扩展卡尔曼滤波(Extended Ka...

配套应用

基于性能分级的退役动力电池梯次利用评价模型研究
摘要:目前,我国新能源汽车发展进入加速阶段,退役动力电池数量持续攀升,梯次利用已成为实现电池资源高效回收与绿色低碳发展的关键路径。受限于退役电池性能不均、分级标准模糊等因素,梯次利用在安全性、经济性与适配性方面面临诸多挑战。据此,以性能分级...
面向电池安全的新能源汽车电控系统故障诊断与处理
摘要:新能源汽车电控系统稳定性直接关系电池安全性能,任何电压失衡、电流波动、热管理紊乱等异常均会触发热失控、过充过放等安全风险,因此应构建精准快速的电控故障诊断与处理体系。电控系统复杂耦合特性使不同类型的故障呈现出多源触发、链式演化等特征,...
基于人工智能的汽车机械故障诊断技术
摘要:基于人工智能的汽车机械故障诊断技术依托传感器网络、算法模型与数据处理架构构建完整体系。汽车动力、传动、行驶与制动等机械系统因部件磨损、性能衰退等原因易产生多元故障形态。该技术运用机器学习、深度学习算法,通过振动、温度等多源信号特征提取...
新能源汽车电驱动系统故障诊断与智能预警方法研究
摘要:新能源汽车电驱动系统在运行过程中容易发生温升异常、信号失真与部件故障等问题,亟须提高故障诊断与预警水平。以电驱动系统为研究对象,构建基于多源数据融合与神经网络算法的智能诊断与预警方法,提取关键时频特征并训练卷积神经网络模型,以实现故障...

课程教育

数字转型背景下职业院校国际交流合作的路径与挑战探析
摘要:对数字化转型背景下职业院校国际交流合作的新机遇与挑战进行了分析。通过文献综述方法,系统梳理了数字化转型为职业院校国际合作带来的机遇,如技术平台创新、合作模式多样化等,同时揭示了信息壁垒、文化差异等挑战。...
高职院校新能源汽车技术专业群毕业设计改革与探究
摘要:针对高职院校新能源汽车技术专业群毕业设计存在的选题随意、内容脱离岗位、过程管理松散等问题,提出基于“岗位需求”的毕业设计改革模式。通过“选岗一探岗一拓岗一用岗”四步实施路径,构建“岗设融通”的选题机制,实施校企双导师协同指导与评价,强...
虚拟仿真技术在新能源汽车技术专业课程教学中的应用与探索
摘要:基于计算机图形学、人机交互和传感技术,运用虚拟仿真技术打造真实可靠的三维仿真场景,让学生在身临其境的过程中展开复杂系统学习与操作训练,可以打破传统的实训教学门槛。以《新能源汽车电池及管理系统检修》课程为例,探讨虚拟仿真技术应用于新能源...
基于岗位需求的新能源汽车课程校企协同育人路径研究
摘要:随着新能源汽车产业的快速发展,电机及控制系统作为核心部件,其检修岗位对高技能人才的需求日益迫切。以校企协同育人为核心,首先剖析校企合作技能人才培养的内涵,明确其在资源整合、工学结合方面的关键作用;其次结合新能源汽车电机及控制系统检修岗...
相关杂志
  • 汽车与运动

    汽车与运动

    2026年02期
    ¥9.00
  • 汽车观察

    汽车观察

    2026年01期
    ¥21.60
  • 汽车纵横

    汽车纵横

    2026年04期
    ¥12.00
  • 专用汽车

    专用汽车

    2026年04期
    ¥9.00
  • 时代汽车

    时代汽车

    2026年08期
    ¥18.00
  • 商用汽车

    商用汽车

    2026年01期
    ¥12.00
  • 汽车与驾驶维修(维修版)

    汽车与驾驶维修(维修版)

    2026年03期
    ¥12.00
  • 中国汽车市场

    中国汽车市场

    2025年06期
    ¥9.69
  • 车主之友

    车主之友

    2026年01期
    ¥18.00
  • 名车志

    名车志

    2024年03期
    ¥15.00
订阅全年后,您可享受以下权益
①该本杂志即日起至未来1年内所有更新电子版杂志的使用权限;
②赠送该杂志的部分往期的杂志的使用权限,有效期1年。

全年订购价格: ¥108.00

订阅全年
--%>

登录龙源期刊网

温馨提示:

1.点击网站右上角的“充值”按钮可以为您的账号充值

2.充值金额可以选择30,50,100或500元

3.充值成功后即可购买网站上的任意杂志或文章

还没有龙源账户? 立即注册

购买杂志

专用汽车

杂志价格:¥9.00元

  • 微信扫码支付
  • 当前余额:100.00

购买杂志

专用汽车

杂志价格:¥9.00元

  • 微信扫码支付
  • 当前余额:¥100.00

    去充值
monitor
客服机器人