注册帐号丨忘记密码?
1.点击网站首页右上角的“充值”按钮可以为您的帐号充值
2.可选择不同档位的充值金额,充值后按篇按本计费
3.充值成功后即可购买网站上的任意文章或杂志的电子版
4.购买后文章、杂志可在个人中心的订阅/零买找到
5.登陆后可阅读免费专区的精彩内容
打开文本图片集
中图分类号:G633.7 文献标识码:A 文章编号:1003-6148(2026)2-0062-5
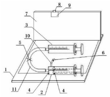
人教版教材中,“探究影响导体电阻的因素”采用的是串联的4根金属丝,由于电流相同,测量电阻之比就转化为测量相应的电压之比,进而比较电阻与长度、横截面积及材料之间的关系[1]。该实验方案的不足之处是改变滑动变阻器阻值时,金属丝上的电压之比不会改变[2],因为每一根金属导体的长度、横截面积是固定的,阻值是不变的。(剩余5007字)
登录龙源期刊网
购买文章
基于导电溶液的电阻定律及电阻率实验仪
文章价格:4.00元
当前余额:100.00
阅读
您目前是文章会员,阅读数共:0篇
剩余阅读数:0篇
阅读有效期:0001/1/1 0:00:00