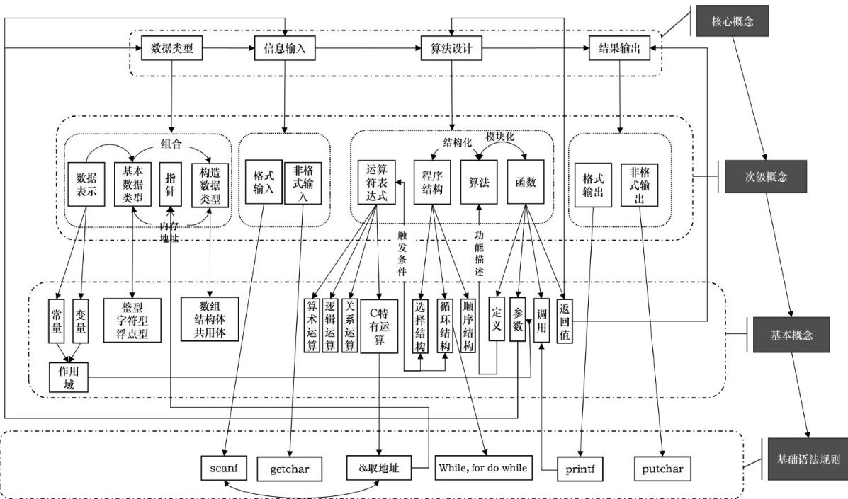
基于核心概念的知识整合及其教学效果研究:以C语言为例

打开文本图片集
作者简介:,副教授(北京100875);,教师(通讯作者:xshuyue@126.com 杭州 311201)
基金项目:国家社会科学基金2022年度教育学一般项目“碎片化学习的深度学习机制和应用效果研究”(项目编号:BCA220209)
中图分类号:G434文献标识码:A文章编号:1009-458x(2026)2-081-27
一、问题提出
数字技术已经普遍地应用于社会各领域,引发业务逻辑和流程的重构,人机协同将成为人们进行学习、工作的新形态。(剩余24115字)