注册帐号丨忘记密码?
1.点击网站首页右上角的“充值”按钮可以为您的帐号充值
2.可选择不同档位的充值金额,充值后按篇按本计费
3.充值成功后即可购买网站上的任意文章或杂志的电子版
4.购买后文章、杂志可在个人中心的订阅/零买找到
5.登陆后可阅读免费专区的精彩内容
打开文本图片集
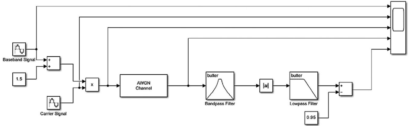
中图分类号:TN911 文献标志码:A 文章编号:2095-2945(2026)07-0026-05
通信原理课程是通信工程专业的专业核心课程,要求学生掌握通信的基本概念、通信系统组成及技术原理,并能分析通信系统性能,能设计简单的通信系统。通信原理课程是学生专业入门的基础,是其他后续专业课程的基础,对学生的专业能力及创新素质的培养起到奠基石的作用。(剩余5446字)
登录龙源期刊网
购买文章
通信原理虚拟仿真平台研发
文章价格:4.00元
当前余额:100.00
阅读
您目前是文章会员,阅读数共:0篇
剩余阅读数:0篇
阅读有效期:0001/1/1 0:00:00